
近日(ri),杭州一22歲女(nv)孩加班猝死的事(shi)件在網上曝(pu)出,杭州市濱江區人力資源(yuan)和社會保障局(ju)官方微博(bo)29日(ri)發布了相關(guan)核(he)查(cha)通報,關(guan)于企(qi)業用工管理的規范問題再次受到(dao)各(ge)界關(guan)注。
近幾年,東寶人才研究院對86家企業進行了走訪調研,包括19家汽車零部件,15家新能源行業,46家手機及零部件,4家LED照明及4家新材料,其中行業頭部企業3家營業額超百億,通過這些企業2020的勞動糾紛案件數量與2021年糾紛案件數量的對比發現,糾紛案件數量漲幅最小的企業都達到了33%,勞動糾紛案件最高的企業更是達到了176%,平均一家企業每年因勞動糾紛發生的人工成本超過48萬。
一方面是(shi)(shi)因為我(wo)國市(shi)場經濟體系的不(bu)斷完善和經濟結構調整步(bu)伐加快(kuai),經濟的多(duo)種實現形(xing)式,特(te)別是(shi)(shi)民營企業用(yong)人機制(zhi)不(bu)盡(jin)規范(fan),勞(lao)動爭(zheng)議案件(jian)數量也(ye)在逐年上升。
其(qi)次(ci)是市場經濟的(de)發展和各方面改(gai)(gai)革(ge)的(de)深入,全(quan)民的(de)法制意(yi)識(shi)明顯增(zeng)強(qiang),維(wei)權意(yi)識(shi)隨之增(zeng)加,導(dao)致勞動爭議案件(jian)增(zeng)長較(jiao)快。也(ye)是我國勞動體制改(gai)(gai)革(ge)、用工(gong)條(tiao)件(jian)正在完(wan)善的(de)表現。
東寶人才(cai)研究院(yuan)對(dui)這(zhe)些(xie)糾紛(fen)案件(jian)背后的主要管理風險,進行了一些(xie)分類(lei)整理,同(tong)時也給出了針對(dui)性的解決方案,希(xi)望能(neng)對(dui)企業(ye)日(ri)常的用工管理提供一些(xie)參考:
管理現狀1:員工(gong)(gong)每(mei)(mei)日工(gong)(gong)作(zuo)時(shi)(shi)長超過(guo)8小時(shi)(shi),每(mei)(mei)周工(gong)(gong)作(zuo)時(shi)(shi)長超過(guo)44小時(shi)(shi),對于超過(guo)的時(shi)(shi)長,企業沒(mei)有按照勞(lao)動(dong)法支付1.5倍加(jia)班工(gong)(gong)資也沒(mei)有安排調休。
勞動爭議:
勞動法(fa)第四章(zhang)第三十六條規定:國家實(shi)行勞動者(zhe)每日工(gong)(gong)作(zuo)(zuo)時間不超(chao)過八(ba)小時、平均每周工(gong)(gong)作(zuo)(zuo)時間不超(chao)過四十四小時的工(gong)(gong)時制(zhi)度(du)。
解決方案:可通過DHG數字化人才治理系統的參數化配置,對員工的工作日時長控制、周工作日累計時長、加班時長進行控制。
管理現狀2:員(yuan)工(gong)平時(shi)(shi)在平日(ri)下班后存在有(you)效刷卡數據、休(xiu)息日(ri)有(you)刷卡數據,但企業(ye)加班時(shi)(shi)長沒有(you)對員(yuan)工(gong)工(gong)時(shi)(shi)進行(xing)統計補(bu)休(xiu)或加班工(gong)資(zi)支付。
勞動爭議:
第四十四條:有(you)下(xia)列情形(xing)之一(yi)的(de),用人單位(wei)應當按照下(xia)列標準支付高(gao)于勞動者正常工(gong)(gong)作時間(jian)工(gong)(gong)資的(de)工(gong)(gong)資報酬:
(1)安(an)排(pai)勞動者(zhe)延長工(gong)作時間(jian)的(de)(de),支付(fu)不低于工(gong)資(zi)的(de)(de)百分(fen)之(zhi)一百五十的(de)(de)工(gong)資(zi)報酬;
(2)休息日安(an)排勞(lao)動者(zhe)工(gong)(gong)作又不(bu)能安(an)排補休的(de),支付不(bu)低(di)于工(gong)(gong)資的(de)百(bai)(bai)分之(zhi)二百(bai)(bai)的(de)工(gong)(gong)資報(bao)酬;
(3)法定休假日(ri)安排勞動(dong)者工作的,支付不(bu)低于(yu)工資的百分之三(san)百的工資報酬。
解決方案:可通過DHG數字化人才治理系統設置有(you)效打(da)卡(ka)時(shi)間(jian),控(kong)制員工刷卡(ka)時(shi)間(jian)點(dian);內置參(can)數,將員工延時(shi)上班(ban)時(shi)數轉換為加班(ban)時(shi)數,用(yong)于薪資發(fa)放或調休。
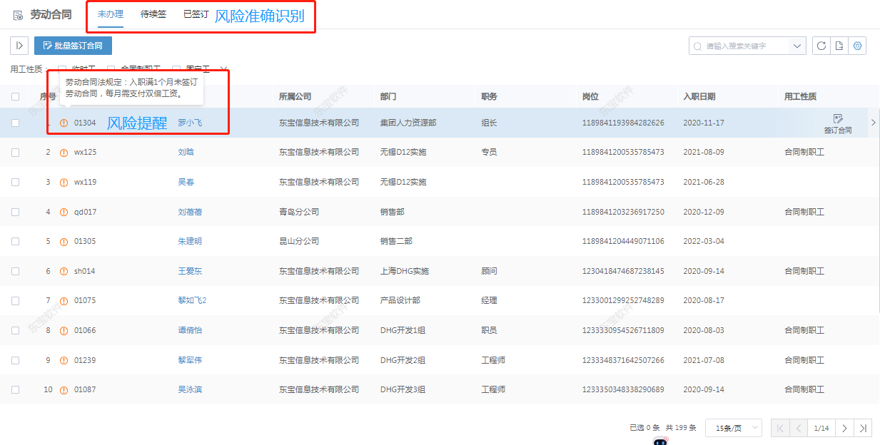
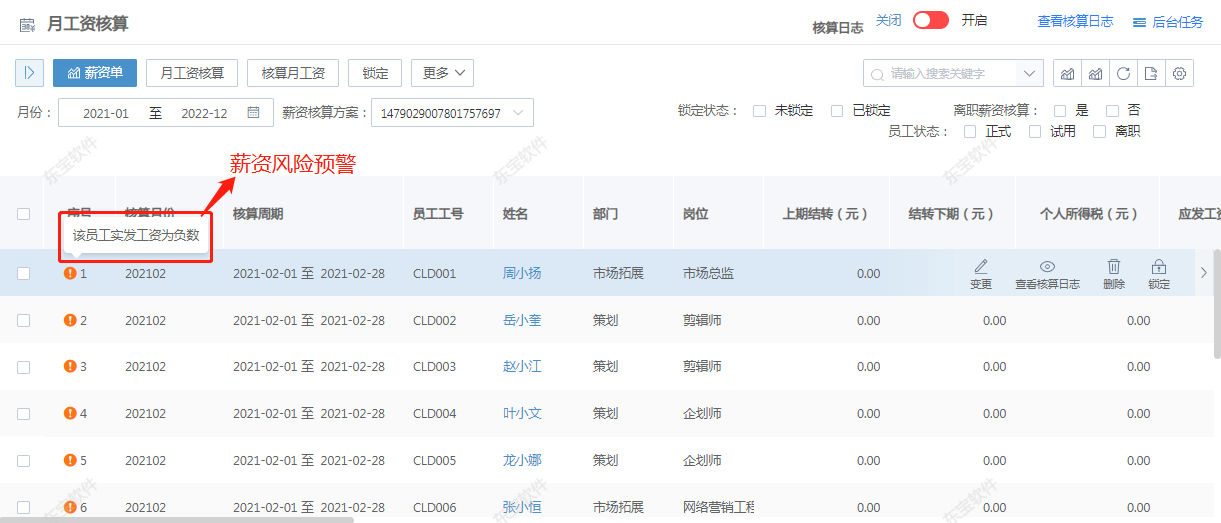
管理現狀3:由于(yu)大(da)批(pi)量員工(gong)(gong)入職(zhi)或疏于(yu)管理,員工(gong)(gong)入職(zhi)后未能及時簽訂勞(lao)動合同,普遍存(cun)在簽訂后的勞(lao)動合同發生丟失(shi)、損毀等(deng)情(qing)況(kuang);薪資(zi)核算(suan)過程中(zhong)由于(yu)計(ji)算(suan)錯(cuo)誤(wu)或者特(te)殊情(qing)況(kuang),薪資(zi)低(di)于(yu)地區最低(di)工(gong)(gong)資(zi)標準造成的勞(lao)動風險(xian)。
勞動爭議:
第七條:用(yong)人單位自用(yong)工(gong)之日(ri)(ri)起(qi)滿(man)一(yi)年未與(yu)(yu)勞動者(zhe)(zhe)訂(ding)立(li)書面勞動合同的,自用(yong)工(gong)之日(ri)(ri)起(qi)滿(man)一(yi)個月(yue)的次日(ri)(ri)至滿(man)一(yi)年的前一(yi)日(ri)(ri)應(ying)當依(yi)照勞動合同法第八十二(er)條的規定(ding)向勞動者(zhe)(zhe)每月(yue)支付兩倍的工(gong)資(zi),并視為自用(yong)工(gong)之日(ri)(ri)起(qi)滿(man)一(yi)年的當日(ri)(ri)已(yi)經(jing)與(yu)(yu)勞動者(zhe)(zhe)訂(ding)立(li)無固定(ding)期限勞動合同,應(ying)當立(li)即與(yu)(yu)勞動者(zhe)(zhe)補訂(ding)書面勞動合同。
第(di)四十八條(tiao):國(guo)家實行(xing)最(zui)(zui)低工資(zi)保障(zhang)制(zhi)度。最(zui)(zui)低工資(zi)的具體(ti)標(biao)準(zhun)由省(sheng)、自(zi)治(zhi)區、直轄市人民(min)政府規定(ding),報國(guo)務院(yuan)備案。用人單位支(zhi)付勞動者的工資(zi)不得(de)低于當地最(zui)(zui)低工資(zi)標(biao)準(zhun)。
解決方案:可通過DHG數字化人才治理系統內置員(yuan)工入職資(zi)料清單校驗、勞(lao)動(dong)合同簽訂、續簽預警、最低薪資(zi)預警等預警提(ti)醒條件,自動(dong)觸發消息至HR管理(li)端,進行(xing)及時的業務(wu)辦理(li),有效管控勞(lao)動(dong)風險。
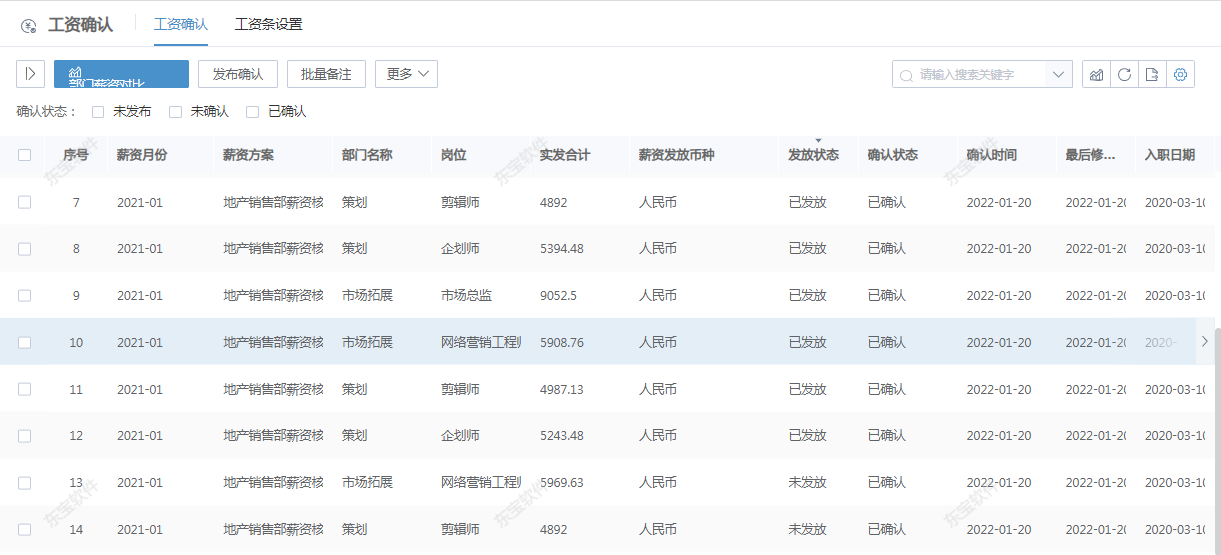
管理現狀4:員工(gong)薪資(zi)結果(guo)需要打印出來(lai)給員工(gong)簽字(zi),簽字(zi)工(gong)資(zi)條(tiao)線下管(guan)理(li)管(guan)理(li)難以保存,容易(yi)丟(diu)失和(he)損毀(hui)。員工(gong)考勤、相關管(guan)理(li)制(zhi)度沒有員工(gong)簽字(zi),不具備法律效(xiao)力,發(fa)生勞動風(feng)(feng)險后缺(que)乏有效(xiao)證據舉證,面臨(lin)敗(bai)訴(su)風(feng)(feng)險。
勞動爭議:
工資(zi)支付暫(zan)行規定:用(yong)人(ren)單(dan)位(wei)必須書面(mian)記錄支付勞(lao)動者工資(zi)的(de)(de)數額、時間、領(ling)取者的(de)(de)姓名以及(ji)簽(qian)字,并保存兩年以上備查。用(yong)人(ren)單(dan)位(wei)在支付工資(zi)時應(ying)向勞(lao)動者提供一份(fen)其個人(ren)的(de)(de)工資(zi)清單(dan)。
解決方案:
(1)可(ke)通過DHG數字化人才治理(li)(li)系統(tong)對接電子(zi)簽章平臺(tai),員工可(ke)以直(zhi)接移(yi)動端操作確認(ren)相關文(wen)件,系統(tong)會(hui)將確認(ren)后的(de)文(wen)件進行保(bao)存(cun)記錄,方便后續管理(li)(li)調取。
(2)介入(ru)自助端(duan)實現管理端(duan)到自助端(duan)的信息(xi)交(jiao)互,打通管理最(zui)后一公里,實現數據留(liu)存,方便(bian)查閱舉證,規(gui)避因(yin)管理疏(shu)忽造成的勞動風險。