2024-11-29
203次
網站運營
某客戶公司每年都會接受來自客戶或其他第三方的資質審核,審核內容之一包括員工考勤和刷卡數據的合規性,要求只要員工的打卡時間在規定時間的前14鐘內就必須計算工資。原來系統依賴人工判斷和手動刪除不合規的刷卡數據,整個過程耗時耗力,且容易遺漏,導致外審時存在一定風險。
1、打卡范圍控制:客戶需要設置每個班次的打卡有效范圍,員工上班打卡只能提前14分鐘內有效,下班打卡只能推后14分鐘內有效,超出此范圍的打卡數據不能進入考勤計算。
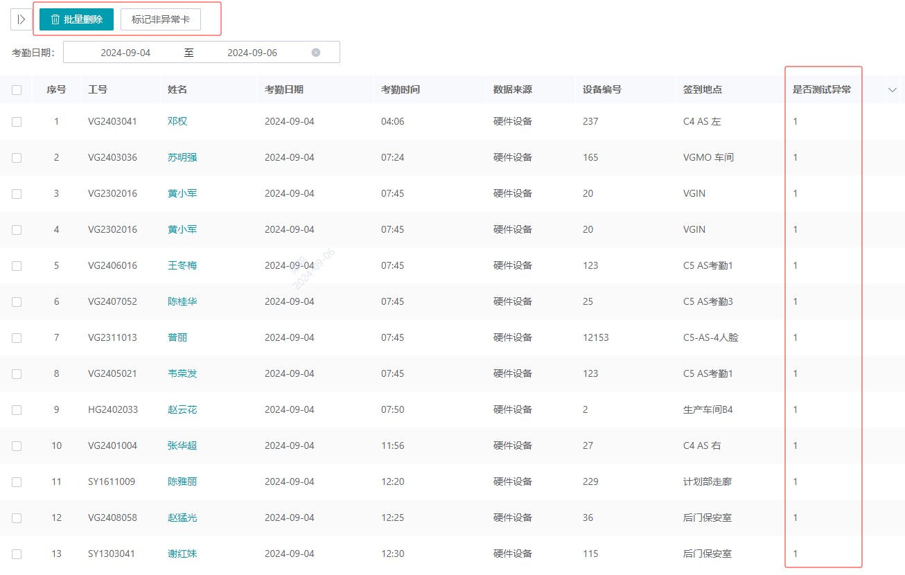
2、異常刷卡數據管理:客戶希望能夠查看、刪除超出14分鐘范圍但不超過23分鐘的異常刷卡數據,并提供導出和打印功能。
1、自動識別異常刷卡數據:系統通過班次設置,自動識別超出有效打卡范圍的異常數據(如提前或推后14分鐘以外的刷卡記錄)。這些數據不參與考勤計算,也不會顯示在考勤模塊中,減少了人工操作的負擔。

示例:比如07:24的刷卡時間超出了班次規定的上班前14分鐘范圍,系統將其自動標記為異常,并不進行考勤計算。


2、異常數據快速處理:系統開發了自定義模塊,支持客戶快速查看、核對異常刷卡數據。客戶可手動標記或刪除不合理的打卡記錄,顯著減少了以往線下處理數據的工作量。

3、異常刷卡數據報表:系統支持客戶生成異常考勤確認登記表,篩選并導出超出14分鐘但不超過23分鐘的刷卡數據,以便外審人員查看。客戶可打印該報表供員工簽字確認,證明該打卡為誤打,進一步降低外審風險。

1、工作效率提升:系統自動識別并處理異常刷卡數據,極大提升了HR的工作效率,減少了人工干預和數據核對的時間成本。
2、外審風險降低:系統自動篩查和處理異常考勤數據,避免了遺漏和違規考勤情況的發生,降低了外審不通過的風險。