2024-08-30
284次
網站運營
東寶軟件專注于人力資源管理數字化解決方案,常常會遇到一些客戶有HR系統功能定制開發的需求。針對于這些需求,東寶軟件先調研了解其管理模式,總結規律,通過DHG人力資源系統的定制化開發來實現這些管理需求。

蘇州某客戶公司針對員工,尤其是實習生,提供商業險服務,但是人員、數據等特殊情況較多,原先線下管理模式已不能適用現有情況,需要統一線上管理;
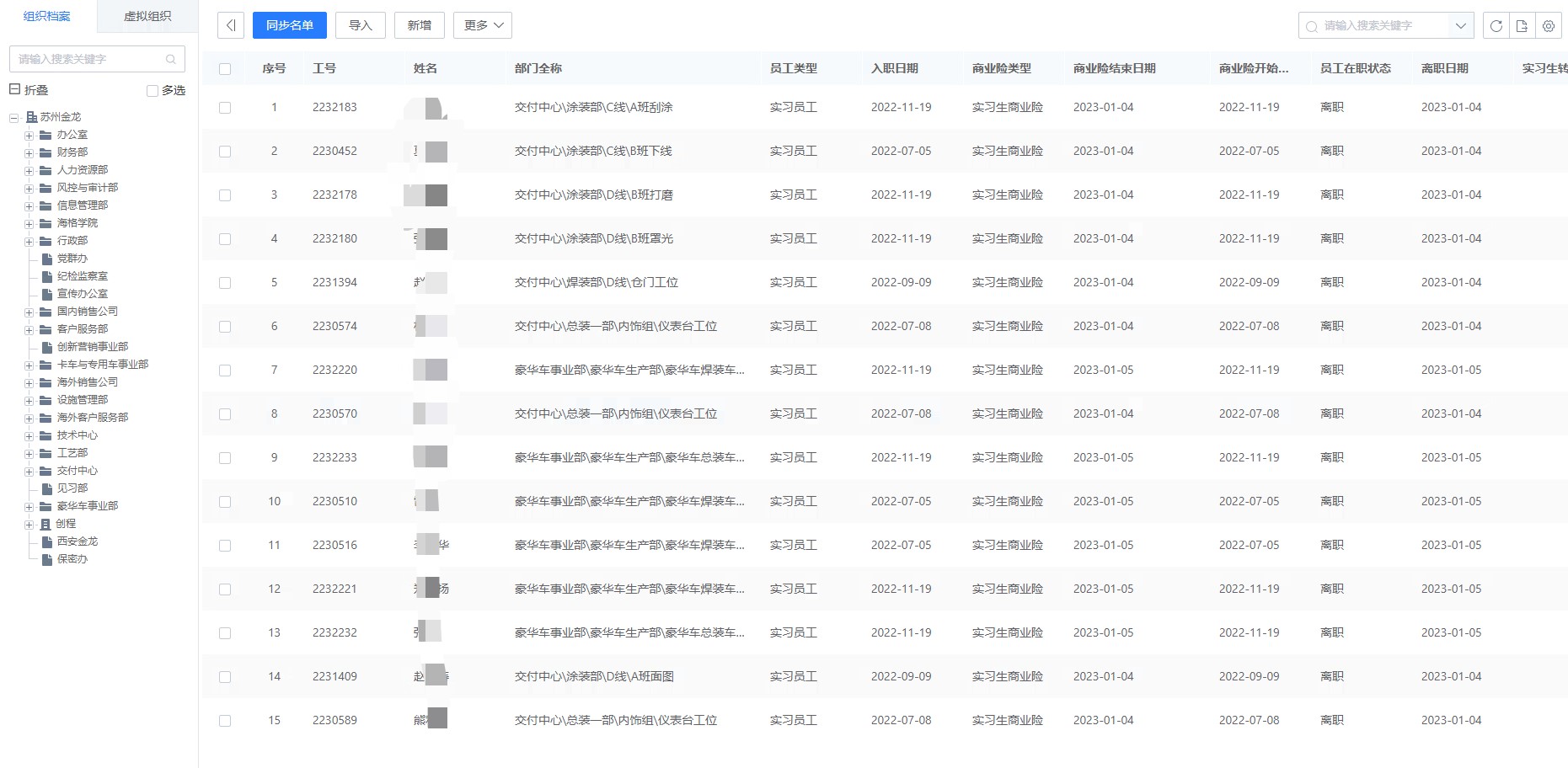
通過在東寶DHG系統定制開發模塊、字段功能,實現統一的線上管理,具體如下:
①在員工檔案模塊添加是否需要繳納商業險字段,用于維護員工是否需要購買商業險,以及需要購買的商業險類型。

②通過二次開發,創建"商業險基數"模塊,用于維護對應商業的基數與生效、失效日期。

③通過二次開發,創建"商業險繳納名單"模塊,用于產生繳納商業險的名單以及商業險類型、有效期等信息,可以自動產生,也可以手動點擊"同步名單"按鈕產生。

④通過二次開發,創建"商業險每月臺賬"模塊,用于計算每月的商業險繳納名單已經金額,用于跟商業險公司對賬使用,數據可以自動產生,也可以手動點擊"按月計算"按鈕產生。

通過數據整合,數據共享,底層框架賦能,實現商業險數據的線上化管理,每月的臺賬數據,只要在維護基礎數據準確后,等待定時任務執行后,或者點擊同步名單、按月計算按鈕,即可產生,大大減少了人工管理成本與數據的錯誤率。
每月對賬時間,由原來每月需要3小時左右,縮短為1小時左右,預估HR基本薪資8000元,8000/21.75/8*2≈91.95元,每月每人可省時間成本137.93元,全年可省成本:137.93*12=1103.4元。