2024-10-12
248次
網站運營
隨著項目類企業規模的不斷擴大和業務的日益復雜,項目管理成為企業運營中的關鍵環節。傳統的項目管理方式往往存在信息不透明、流程繁瑣、成本控制不精準等問題,導致項目進展緩慢、資源浪費嚴重。為了解決這些問題,企業需要一套高效、準確的項目管理系統,以實現項目信息的實時更新、資源的合理配置和成本的精確控制。

東寶DHG系統定制開發為企業提供了從項目填報、工時管理到成本核算的全方位解決方案。通過DHG系統,企業可以更加高效地管理項目資源、優化項目進度、降低項目成本,從而提升企業的整體競爭力。
1.提升項目管理效率:通過統一的填報界面和自動化的數據處理功能,DHG系統大大簡化了項目管理流程,減少了人工操作和數據錄入的工作量,提高了項目管理的工作效率。
2.優化資源配置:DHG系統可以根據項目的需求和團隊成員的能力,自動計算工時和成本,為資源的合理分配提供依據。通過精確的數據分析,企業可以更好地掌握項目進展情況和資源利用情況,避免資源的浪費和過度投入。
3.加強成本控制:DHG系統通過自動計算項目成本和生成憑證明細數據,幫助企業實現成本的精確控制。企業可以實時了解項目的成本構成和變動情況,及時發現成本控制的薄弱環節,并采取相應的措施降低成本。
4.提高決策支持能力:DHG系統提供豐富的數據分析和可視化功能,為企業決策層提供有力的支持。通過系統生成的項目進度報告、成本分析報表等,企業可以更加清晰地了解項目情況,制定更加科學合理的決策方案。
1、項目填報單:創建并管理項目的基礎信息,確保項目信息的完整性和準確性。項目填報詳細界面包含了項目編號、名稱、項目經理、項目參與人、測試項目經理以及測試項目參與人等關鍵字段。填報完成后,系統將進行項目填報審核,以確保信息的合規性。目前,這一功能已通過接口無縫集成至東寶DHG系統,實現了信息的實時更新與共享。


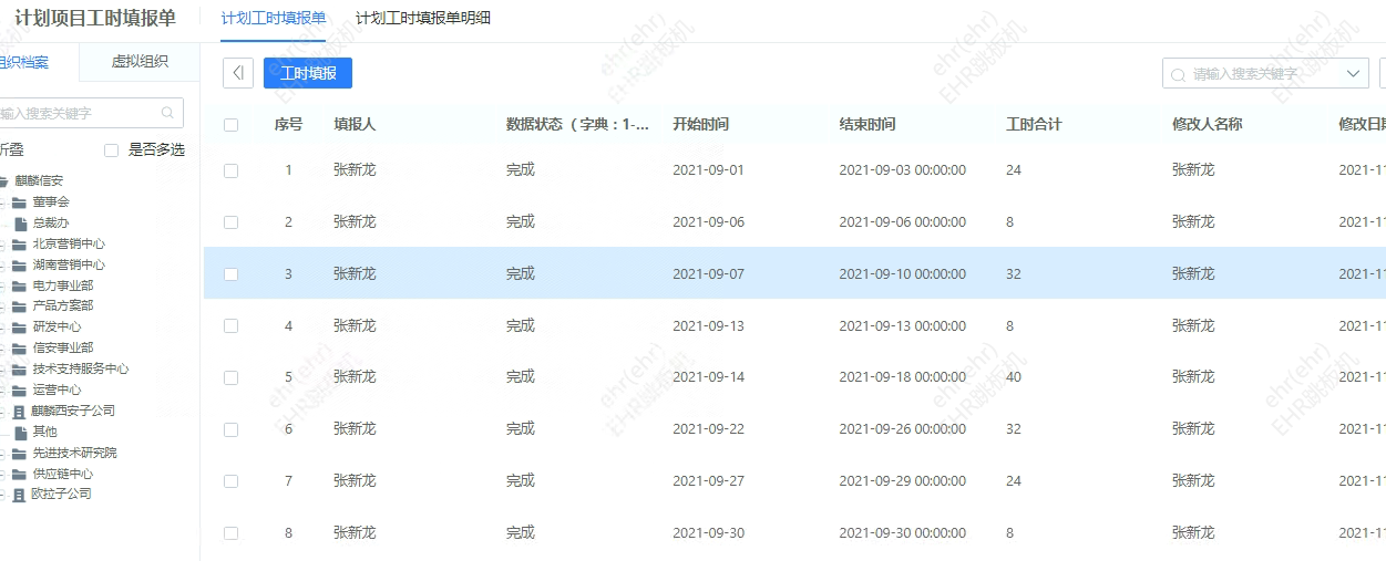
2、計劃工時填報:此模塊用于記錄每個項目所投入的計劃計工工時,以支持項目資源的合理配置。填報內容包含項目編號、項目名稱、參與人、以及參與人投入的日期及工時數等詳細信息。通過精準的數據錄入,企業可以更加清晰地了解項目工時分配情況,為項目管理和決策提供有力支持。


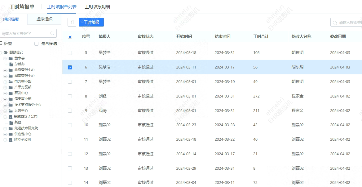
3、項目工時填報:用于用戶詳細記錄每個項目每天的具體工時投入情況,確保工時數據的實時性和準確性。填報界面包含項目編號、項目名稱、參與人、參與日期和參與工時等關鍵字段。通過每日的工時填報,企業可以實時掌握項目進度和團隊成員的工作效率,為項目管理和優化提供數據支持。


以下是填寫的界面

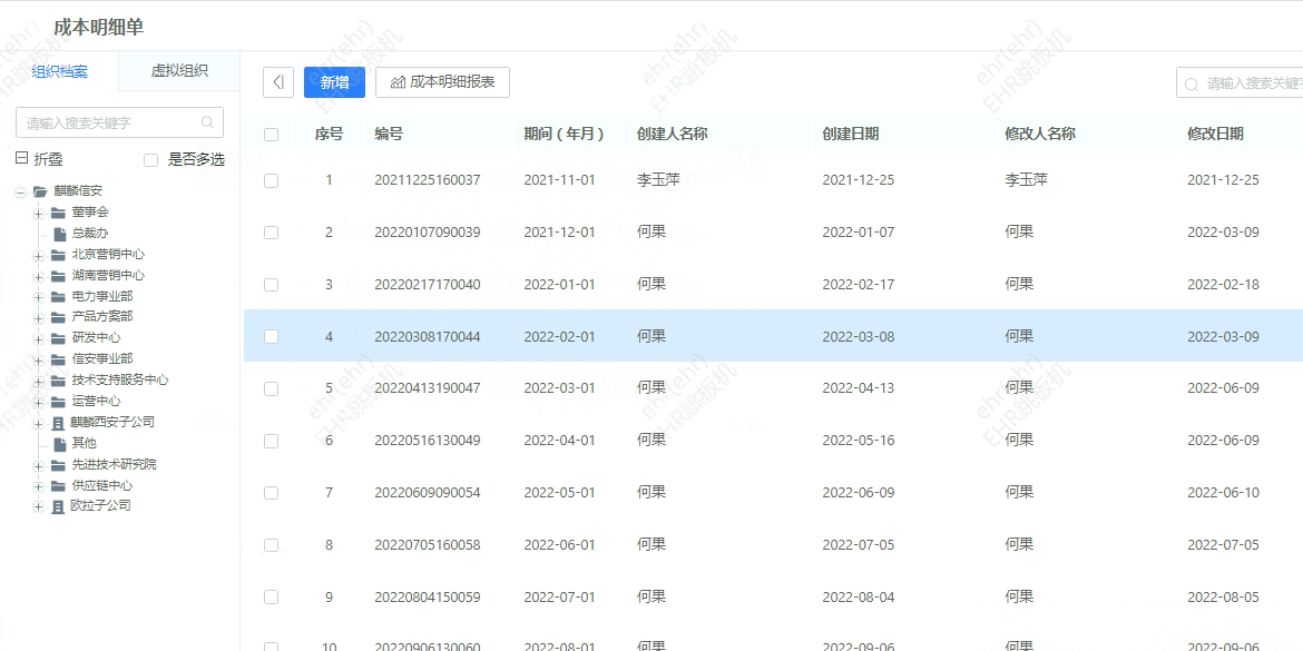
4、項目成本明細:根據項目實際的人員參與工時和員工當月的工資情況,自動進行薪資各科目成本分攤,生成詳細的項目成本明細報告。通過該功能,企業可以更加精準地了解項目的成本構成和分布情況,為成本控制和預算制定提供有力依據。


5、部門科目映射:實現了不同成本中心、薪資科目和項目歸屬之間的映射關系,為后續的會計分錄生成提供了基礎數據。通過部門科目映射,企業可以更加規范地進行會計核算,提高財務信息的質量和透明度。

6、憑證明細數據:根據部門科目映射關系自動生成憑證明細數據,實現了分計分錄的自動化處理。通過該功能,企業可以簡化財務流程,提高工作效率,同時確保憑證數據的準確性和完整性。憑證明細數據為企業的審計、合規和決策支持提供了重要依據。
